公司新闻
简析塑料检查井下井前的安全注意事项
马路上会有很多井盖,当这些塑料检查井经过风吹日晒之后需要下井检查的时候,塑料检查井下井前有哪些安全注意事项。1、打开塑料检查人孔盖,至少干燥6小时。如有必要,请···
公司新闻715 2021-11-22
塑料检查井的节水措施
塑料检查井是一个非常重要的节水和环保设施。塑料检查井与“节水环保”密切相关。然后让我们来看看它的节水和环保设施。塑料检查井是城市地下排水系统中不可缺少的排水设施···
公司新闻504 2021-11-22
塑料检查井的利用率怎样
塑料检查井的模具市场越来越大,很大程度上是因为它重量轻、使用安装方便、范围广、改进空间大。塑料检查井模具深受世界各地客户的喜爱,并以其低成本、高回报、设备简单、···
公司新闻501 2021-11-22
塑料检查井的价格存在差异是必然的
塑料检查井的价格存在差异是必然的,首先是因为不同的塑料检查井由于采用的原材料不同,所以在原材料比较贵的检查井制作成本上升了,价格自然会有所提升。其次是在制作方式···
公司新闻564 2021-11-19
塑料检查井不仅性能可靠施工更是方便快···
塑料检查井(1)、施工方便快捷。采用分体组装结构、井筒可现场切割、调整,适应各种安装深度要求,有效降低成本,大大提高施工进度 塑料检查井,缩短工期是传统检查井的···
公司新闻568 2021-11-19
塑料检查井井筒、井盖安装注意事项
塑料检查井是排水排污效率比较高的管道产品,相比传统的砖砌混凝土检查井不仅内壁光滑,而且能够实现与排水管道的柔性连接,保证了接口处不会有漏水情况的出现,塑料检查井···
公司新闻1311 2021-11-19
雨水井跟塑料检查井在功能作用上有根本···
1、雨水井跟塑料检查井都属于管线工程中的附属构筑物,但两者在功能作用上有根本性的区别,雨水井通常井盖上标有“雨”的字样,检察井的井盖上字样就比较多了比如“电”、···
公司新闻625 2021-11-19
塑料检查井致力污水处理 响应政策共建···
水是人类生存的必需品,更是经济发展的基础物质。但是,近年来水资源受到严重污染,未来几年里,日常用水将越来越匮乏。解决这一问题的关键,是要做到节约用水、循环用水,···
公司新闻493 2021-11-17
塑料检查井相比砖砌检查井更适合雨雪天···
在冬季的时候,塑料检查井有着很大的作用体现。细心的人可以发现,近几天,降温速度变快,早上地面的寒霜白花花的一片,甚至很多路段会出现结冰现象,没有下雪,没有下雨,···
公司新闻583 2021-11-17
塑料检查井作为新型排水设备各方面细节···
现在塑料检查井作为一种新型的节能环保排水设备,在市镇建设的过程中已经不可或缺。塑料检查井主要是采用现代制造工艺,高分子聚乙烯材料经过高科技加工制作而成,塑料检查···
公司新闻516 2021-11-17
塑料检查井安装时的*大间距有哪些呢
塑料检查井安装时的*大间距是对于雨水塑料检查井安装的*大间距,规定有以下几点:1.雨水口间距宜为25~50m。连接管串联雨水口个数不宜超过3个。雨水口连接管长度···
公司新闻480 2021-11-17
安装HDPE双壁波纹管相关事项
双壁波纹管是灌溉、排水等工程中常用的管材,应用范围广,文明安装双壁波纹管也就成为很多厂家的要求,怎样才能做到文明安装呢?所谓文明安装,就是指安装过程中不影响周围···
公司新闻1494 2021-03-22
野外应用HDPE双壁波纹管注意事项
HDPE双壁波纹管是能够应用于农田灌溉的输水管材,它的水流阻力小、速度快,使用寿命长,诸多的优点使其备受青睐,野外使用双壁波纹管要注意管材的保护和天气的影响。在···
公司新闻1749 2021-03-22
塑料检查井下井前安全注意事项
1.打开塑料检查井盖,使其干燥至少6个小时。 如有必要,请使用轴流风扇通风30分钟;2.将点燃的纸放入塑料检查孔中,以检查是否有足够的氧气;3.穿戴铠装,尤其是···
公司新闻1517 2021-03-17
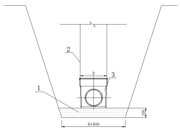
塑料检查井的安装与施工详解
1.1 一般规定1.1.1 排水检查井安装施工前,应与排水管道工程同时做好技术交底工作。1.1.2 施工单位应编制详细的施工组织方案。1.1.3 施工单位应根据···
公司新闻2873 2021-03-17
塑料检查井对现代生活的影响
使用塑料检查井来排水是很重要的节水以及环保设施。塑料检查井是每个城市的地下排水系统中不能缺少的排水设施。排水用检查井通常都是沿公用设施铺设的,每隔20到40m距···
公司新闻1472 2021-03-15



